Лучшие цены!!! Бесплатная доставка по РБ!!!
Отправляйте Ваши заявки на dentorg@list.ru
С
Стяжной прибор универсальный СПУ-1 используется при перешивке пути с рельсами Р50, Р65 для колеи шириной 1520 мм и 1524 мм. СПУ-1 имеет универсальный захват за головку и подошву рельсов.
Технические характеристики стяжного прибора СПУ-1
| Вес | 18 кг |
| Габаритные размеры | 1820х70х200 мм |
| Расчётное максимальное усилие при растяжении приспособления, кг | 10000 кг |
| Расчётное максимальное усилие при сжатии приспособления, кг | 630 кг |
| Максимальные усилия возникают соответственно: | |
| при сужении рельсовой колеи на | 15 мм |
| при расширении рельсовой колеи на | 6 мм |
| При односторонней расшивке шпал: | |
| - при сужении колеи расшитых шпал концов, | не более 6 мм. |
| - при расширении колеи расшитых шпал, только концов | не более 6 мм. |
Изделие поставляется в заводской комплектации.
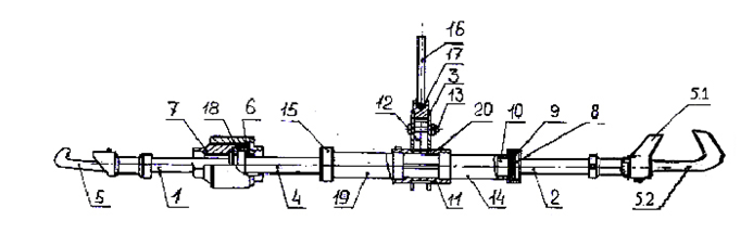
Схема, устройство и работа стяжного прибора СПУ-1
1. Растяжка левая 1451.010
2. Растяжка правая 1451.020
3. Держатель 1451.030
4. Штанга 1451.040
5. Захват 1451.001
5.1. Лапа (дополнительно) СПГ.001-01
5.2. Насадка (дополнительно) СПГ.001-02
6. Прокладка 1451.002
7. Гайка 1451.003
8. Кольцо разъёмное 1451.004
9. Кольцо уплотнительное 1451.005
10. Кольцо разъёмное 1451.006
11. Втулка 1451.007
12. Собачка 1451.008
13. Ось 1451.009
14. Гайка 1451.011
15. Гайка 1451.012
16. Стержень 1451.013
17. Кольцо 1451.014
18. Втулка 1451.015
19. Гайка 1451.016
20. Винт М 6 Х 10
Правила эксплуатации стяжного прибора СПУ-1
Узел электроизоляции должен быть плотно собран и не иметь люфтов, после испытания стяжного приспособления на стенде, гайки должны быть окончательно затянуты. Растяжка правая поз.2 и штанга поз.4 с растяжкой левой поз.1 должны свободно перемещаться по резьбе в гайках поз.14 и поз.19, люфт в продольном и поперечном направлениях допускается в пределах зазоров, обусловленных резьбовыми калибрами. Гайки поз.14 и поз.19 плотно ввернуть во втулку поз.11 и застопорить винтами поз.20. Храповое устройство должно свободно без заеданий вращаться на втулке поз.11. Собачки поз. 12 должны свободно, без заедания и независимо друг от друга вращаться на оси поз.13. При проведении работ собачки поз. 12 направлять в паз храпового устройства в ручную до схватывания. После установки оси поз.13 резьбу раскернить в 3-х точках. После испытания стяжного приспособления на растяжение и сжатие остаточные деформации в деталях не допускаются. При захвате за головку рельса закрепляют дополнительные узлы (насадки п. 5.2 и лапы п. 5.1 на захваты п. 5). Резьбовые соединения необходимо периодически смазывать (смазка типа ЦИАТИМ ).
- Цена: 1 руб.
- Минимальный заказ: 3 шт.

